Summary
There’s a laser inside each gyroscope, that’s used to send two separate beams of light through optical fiber. The beams travel in opposing directions through a self-contained closed loop and return to a light detector where their journey times are recorded. If there was no rotational change, the two beams of light will return at the same time. Any rotation means the distance each beam travels will change and will cause the beams to arrive at different times. Angular rotation can be measured based on which beam arrived first and how long the second beam was delayed.
Use of Gyroscope Technology
For over 100 years, gyroscope technology has been aiding navigation in a variety of applications. Mechanical gyros were relied upon for about 60 years until the ring laser gyro was invented in the 1960’s. However, it was not until the 1970’s that fiber optic gyros were developed, implemented and became popular in a wide range of applications from submarines to spacecraft.

Mechanical gyro (Source: Pinterest)
The goal of any gyro is to measure angular rotation on any single axis. This is critical in determining pitch, roll and yaw angles in a system that requires reliable navigation information to function correctly. Imagine an airplane taking off, a NASA rocket pitching down range or a missile finding its target. Gyros used for such applications measure each vehicle’s rate of angular rotation. This critical information is sent downstream to control and stabilize the vehicle. (Veljović, 2010)
Every gyro provides this information to varying degrees of reliability and accuracy, so what makes fiber optic gyros different from other gyros?
Fiber Optic Technology
As the name suggests, fiber optic gyros make use of optical fiber to perform their job. Made of glass, optical fiber is used in many applications to send light from one point to another. Often used in telecommunications such as telephone and internet, fiber optic cable is extremely fast and reliable. (Circuit Digest, 2019)

Close-up of Fiber Optic (Source: Fiverr Getty)
In fiber optic gyros, this method of light transmission is not used to deliver information elsewhere, but, rather, wound tightly in a self-contained closed loop within the gyro. This allows fiber optic gyros to make use of the ‘Sagnac effect’.
Sagnac Effect
Discovered by French physicist Georges Sagnac, the phenomenon is at the heart of how every fiber optic gyro works.
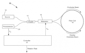
Inside the gyro, a laser is used to send two separate beams of light through the optical fiber. The beams each travel in opposing directions, traveling the full length of the optical fiber which can be as long as 5 km. Each beam then returns to a light detector where their journey times are recorded.
Take for example, an international flight at cruising altitude. The airplane is stable, flying straight and level with no rotational change.

Airplane flying at cruising altitude (Source: Pinterest)
When the airplane is experiencing no rotational change, the beams of light return to the detector at the same time. In this case, there is no delay or ‘phase shift’ between each beam of light. The airplane is detected as being stable and not experiencing any rate of rotation about any given axis.
However, when the airplane is turning, Sagnac comes into full effect. As the airplane turns to the right, the fiber optic gyro dedicated to the roll axis will experience a delay in arrival between the two beams of light. As it turns, the distance that each beam must travel, changes.

Internal Diagram of Fiber Optic Gyro (Source: PatentSwarm)
The light that travels against the direction of the rotation will return first as the detector has moved slightly closer to the traveling beam. In this example, the beam of light traveling to the left will return first. Similarly, the beam of light traveling right will take longer. This phase shift between each beam of light is detected as rotational change. This critical information can then be sent downstream in the airplane, spacecraft, submarine or missile to stabilize it. This happens at a rate of 100’s of times per second giving very precise measurements. (Pascoli, 2017)
Gyro Calibration
As with any gyro, sources of error, bias and noise must be carefully accounted and corrected. During manufacturing, fiber optic gyros are calibrated to correct for several potential sources of error that may be introduced by the gyro itself or the environment. Once corrected, fiber optic gyros offer a very high level of performance.
Why Use Fiber Optic Gyros?
Fiber optic gyros have become ubiquitous across many applications having several attractive attributes. They are reliable in harsh environments with significant vibration, have no moving parts, offer a good balance between price and high performance and last for a significant amount of time in operation.
Sources
Veljović, 2010, Available at: https://www.vti.mod.gov.rs/ntp/rad2010/34-10/12/12.pdf
Circuit Digest, 2019, Available at: https://circuitdigest.com/article/how-optical-fiber-communication-works-and-why-it-is-used-in-high-speed-communication
Pascoli, 2017, Available at: https://www.sciencedirect.com/science/article/pii/S1631070517300907
